Fuel Door Bumper - Nissan (93843-3S500)

Genuine Nissan Parts
Nissan Parts
  • Nissan
  • 93843-3S500

Details

  • Brand:

     Parts

  • SKU:

    93843-3S500

  • Positions: LEFT,Rear Left
  • Other Names:

    Bumper, Bumper Rubber

  • Description:

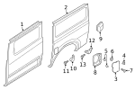
    Type 2. Crew cab long bed. Short bed. Standard cab. Passenger Van. Cargo Van driver side. Fuel door,bumper.

  • Condition: New
  • MSRP*: $6.18
  • Discount: $2.07 (33.5% off)
  • Your Price: $4.11
Genuine Nissan Parts
Nissan Parts
  • Nissan
  • 93843-3S500

Details

  • Brand:

     Parts

  • SKU:

    93843-3S500

  • Positions: LEFT,Rear Left
  • Other Names:

    Bumper, Bumper Rubber

  • Description:

    Type 2. Crew cab long bed. Short bed. Standard cab. Passenger Van. Cargo Van driver side. Fuel door,bumper.

  • Condition: New

Vehicle Fitment

Vehicle Fitment
Year Make Model Body & Trim Engine & Transmission
( more fitments)
No fitment data available